Компания Локхид Мартин запатентовала компактный термоядерный реактор.
https://patents.google.com/patent/US201 ... %2f0047462
Патент полученный Локхид Мартин, датирован 15.02.2018 года. Называется он «Инкапсулирующие магнитные поля для ограничения плазмы» (Encapsulating Magnetic Fields for Plasma Confinement), для простоты, его назвали компактным термоядерным реактором, или CFR (Compact Fusion Reactor). Как заявляет разработчик, если проект пойдет по графику, то в следующем году, компания может дебютировать с прототипом системы, размером с транспортный контейнер, которая способна обеспечивать энергией авианосец класса Нимиц или 80 000 домов
«Главный оборонный Подрядчик» подал предварительную заявку 3 апреля 2013 года. Тогда доктор Томас Макгуайр, руководитель разработки компактного термоядерного реактора, сказал, что их цель разработать реактор в течение пяти лет и получить готовый образец в пределах 10 лет.
С 1920-х годов, ученые работают над концепциями небольших термоядерных реакторов, но к сожалению большинство действующих образцов были неэффективны, а большие – как правило, были размером с небольшой дом, а также чрезвычайно дороги. Например, Международный экспериментальный термоядерный реактор, который строит международный консорциум во Франции и будет готов, как ожидается к 2021 году, по оценкам, его общая стоимость $50 млрд и весит он около 23.000 тонн.
Видео-презентация от "Локхид Мартин" 2014 года
В отличие от ядерного деления, где атомы сталкиваются друг с другом выделяя энергию, термоядерная реакция включает нагревание газообразного топлива до момента, когда атомы распадаются на ионы и электроны от давления, а затем свободные ионы сливаются в более тяжелые ядра, за счёт кинетической энергии их теплового движения.
Процесс включает в себя освобождение большого количества энергии, в миллионы раз больше, чем в обычной химической реакции, как при горении ископаемого топлива. Но для этого вы должны быть в состоянии удерживать газ, который в конечном итоге переходит в перевозбужденное Плазменное состояние, в течение длительного периода времени при температуре в сотни миллионов градусов по Фаренгейту, сказал Макгуайер.
В интервью 2014 в Aviation Week, Макгуайр упоминал токамаки, магнитные устройства, впервые изобретённые учеными СССР, в 1950-х годах, в качестве примера, заявив, что они имели низкий магнитный предел давления, при которых они могли спокойно работать.
Если проект заработает, сложно сказать, насколько кардинально он может изменить не только будущее войны, но саму природу человеческого существования. По оценкам Локхид Мартин, запущенный, примерно, на 25 килограммах топлива (смеси изотопов водорода, дейтерия и трития), условный реактор смог бы проработать целый год, без остановки. Устройство будет способно генерировать постоянные 100 мегаватт электроэнергии, в течение этого периода.
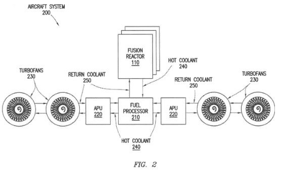
Применяя такую систему в авиации, в зависимости от размера реактора, самолет не нужно будет заправлять за весь его жизненный цикл, лимит будет лишь в пище и других системах жизнеобеспечения экипажа. Высотный БПЛА с возможностью находиться в воздухе в течение нескольких месяцев или даже лет, может потенциально занять место спутников для военного и гражданского применения.
Те же преимущества могут применяться для транспортных средств на суше, кораблей в море, аппаратов в космосе, обеспечивая почти неограниченную энергию в компактной форме, что позволяет расширить поле деятельности. Опять же, по заявлениям военных, беспилотные наземные транспортные средства и корабли могли бы патрулировать неограниченно далеко от традиционных логистических цепочек.
В этом и заключаются, пожалуй, наибольшие потенциальные выгоды от ядерного синтеза. Не будет никаких опасных выбросов и в случае сбоя системы, не будет угрозы крупномасштабного радиологического инцидента. Дейтерий и тритий относительно безвредны в малых дозах. Небольшое количество топлива, необходимое для термоядерного реактора, снижает шансы на то, что утечка негативно повлияет на большую территорию, в случае аварии.
И поскольку термоядерному реактору не нужен особый расщепляющийся материал, его гораздо сложнее, использовать для отправной точки при создании программы ядерного оружия. Это в свою, очередь, говорит, о том что его будет легко экспортировать.
Топлива также будет достаточно, и оно сравнительно легкодоступно, так как морская вода является практически неограниченным источником дейтерия. Работа с отходами производства, также упрощается, так как они разлагаются за сотни, а не тысячи лет.
Система все равно работает путем генерации тепла и использует эту энергию, чтобы приводить турбину в движение для выработки электроэнергии, это означает, что "Локхид Мартин" может предложить разработку для замены существующих энергоустановок, работающих на угле, газе и нефти.
Конечно, пройдёт ещё много времени как термоядерный реактор от Локхид Мартин станет реальностью. Многие другие компании и учреждения пытались в течение почти столетия, создать работоспособную термоядерную установку.
Правительство США оставляет за собой право засекречивать патенты, если считает раскрытие информации угрозой национальной безопасности. В данном случае информация не была закрыта и это оставляет место для раздумий, насколько реалистично реализовать данный проект.
Фото, что бы определиться с размером агрегата.
US20180047462A1 - Encapsulating Magnetic Fields for Plasma Confinement - Google Patents
Авторство:
Авторская работа / переводика
Использованные источники:
Lockheed Martin Now Has a Patent For Its Potentially World Changing Fusion Reactor
Lockheed Martin Now Has a Patent For Its Potentially World Changing Fusion Reactor
When it first announced the project, the company said it could have a working prototype of the revolutionary power source as early as 2019.
Комментарий автора:
Большая статья на русском 2014 года https://topwar.ru/61093-lockheed-martin ... getike-v...
Компания Локхид Мартин запатентовала компактный термоядерный реактор
Модератор: Princess
- Princess
- Системный администратор

- Сообщений: 503
- Зарегистрирован: 16 янв 2020, 21:34
- Откуда: Moscow
- Gender:
- Контактная информация:
Компания Локхид Мартин запатентовала компактный термоядерный реактор
- Вложения
-
US20180047462A1.rar- Скачать патент.
- (1.52 MiB) Загружено 1721 раз