НЛО как наследие нацистской Германии

Концепции пространства времени в естествознании.

Модератор: Princess

Сообщение
Автор
Аватар пользователя
x_name41
Сообщений: 22
Зарегистрирован: 02 авг 2021, 14:27
Контактная информация:

НЛО как наследие нацистской Германии

#1 Сообщение x_name41 » 01 май 2023, 05:42

После окончания Второй мировой войны немецкие [нацистские] специалисты перебрались в США [операция «Скрепка»], где продолжили развивать совместно с интернациональными коллективами и известными американскими авиационными корпорациями и концернами свои разработки в области неконвенциональные летательные аппараты, приводные установки и другие технологии на объектах, специально предназначеные и подготовленных для этой цели, соответствующих так называемым «Секретным зонам», таким как известная «Зона 51» и им подобные.
Их испытания и эксперименты часто попадают в глаза людям или в объективы их фотоаппаратов, поэтому они известны как НЛО...
Bob Lazar UFO, George Adamski UFO, Mark McCandlish ARV FluxLinner - это часть немецких разработок неконвенциональные летательные аппаратах

Прилагаю статью о болгарском специалисте, который работал вместе с немецкими специалистами и присутствовал на демонстрации неконвенционального летательного аппарата в 1944 году.
photo_2023-04-26_03-51-06.jpg


Где-то читал, что создатель американской космической программы Вернер фон Браун часто злился и печалился, когда люди начинали ассоциировать НЛО с инопланетянами, но в то же время я не исключаю возможности приезжих, но не из далеких миров, а скорее из параллельных нашим [кто читал эту статью поймет о чем я]

Между тем, некоторые ведущие автомобильные концерны, такие как Audi, Volkswagen, Renault, весьма вероятно, работают над этим типом электромагнитного электрогравитационного неконвенционального привода, заимствованного у НЛО и робко намекая, акцентируя через некоторые свои футуристические концепты, такие как так называемый проект «PEOPLE S CAR». представленный в Китае или "Renault Float hover car" , а также проект ховерборда: https://youtu.be/A4vE_vpkr90 ... может в будущем будут целые летающие дома?

blue-print PEOPLE S CAR concept Wolksvagen.jpg


Wernher_von_Braun(1).jpg


ссылка на англоезичном форуме "Overunity"

архив
מוזיקה מאריכה חיים

Аватар пользователя
Princess
Системный администратор
Системный администратор
Сообщений: 518
Зарегистрирован: 16 янв 2020, 21:34
Откуда: Moscow
Контактная информация:

Re: НЛО как наследие нацистской Германии

#2 Сообщение Princess » 01 май 2023, 12:46

Спасибо за материалы. А есть статья в виде текстового документа?

Аватар пользователя
x_name41
Сообщений: 22
Зарегистрирован: 02 авг 2021, 14:27
Контактная информация:

Re: НЛО как наследие нацистской Германии

#3 Сообщение x_name41 » 01 май 2023, 21:59

статия в текстовом документе нет, но есть онлайн сканнер-транслятор через который перевел в текстовом виде текстового изображения и затем исправил немножко и вот что получилось:



хм, нет но есть, вот нашеш оригинальную статию в журнале:
https://www.24chasa.bg/bulgaria/article/4236463
מוזיקה מאריכה חיים

Аватар пользователя
x_name41
Сообщений: 22
Зарегистрирован: 02 авг 2021, 14:27
Контактная информация:

Re: НЛО как наследие нацистской Германии

#4 Сообщение x_name41 » 24 май 2023, 05:34

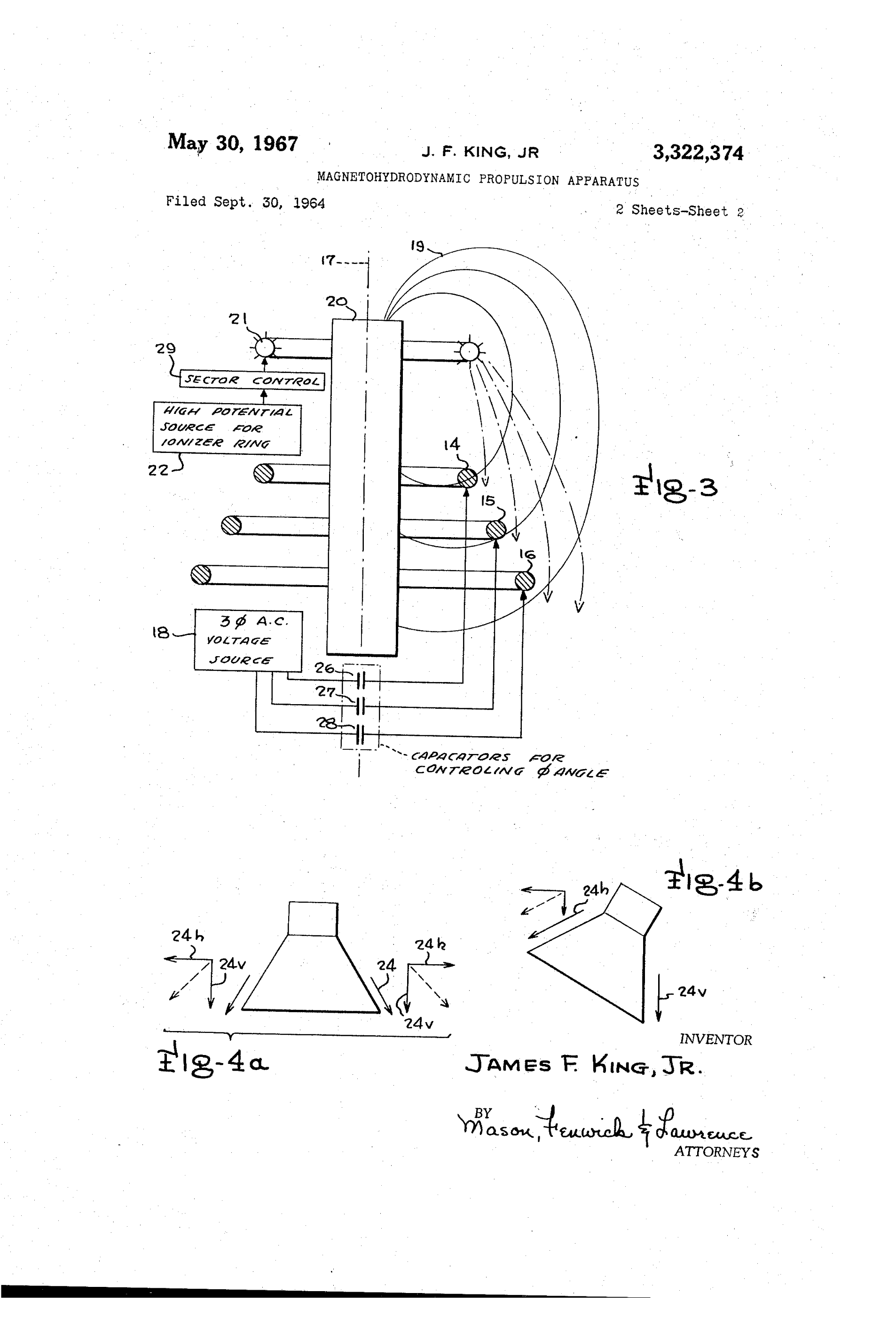
некоторые материаллах о ARV FLUXLINER и тому подобные аппаратах. Я думаю, что конденсатор разделен секциям, чтобы можно было контролировать направление движения через расспределение энергии в разные его областях и вот поэтому нужен высоковольтной силовой переключатель [расспределитель]...
p.s. важно отметить что аппарат ARV FLUXLINER питается от батарей подводных лодок
кстати первообраз этого аппарата или прототип является есминоносец "Елдридж" [DE-173] который принял участие в так называемой "Филядельфииский эксперимент" или "проэкт Радуга"...

ARV Fluxlinner inside .jpg


Tuned_circuit_animation_3.gif


field bubble around the ARV FLUXLINER .png



NASA STS75 mission and Mark McCandlish ARV Fluxlinner UFO
NASA STS75 mission and Mark McCandlish ARV Fluxlinner UFO.gif


из-за особенностей приводной системой, при этими аппаратах наблюдается определеные оптические эффектах, такие как искажение образа, маранья похожее на трепетание воздуха над асфальтом в жаркий солнечный день и тому подобные
UFO apparatus with three high power high voltage capacitor balls below.gif


интересно получается если сопоставим эту старую нацисткую карту с Луну.

[ Воспроизвести файл QuickTime ] IMG_4851.MP4 [ 2.05 MiB | 19738 просмотра ]


Если предположим что нацисты обладали такие неконвенциональные летательные аппаратов, то логически бы сделать вывод что они точно знали форму Земли и не только, и она радикально разная от то что нам учили...

Изображение
Вложения
Vril type apparatus.jpg
NAZI Adamski UFO schematic .jpg
NAZI Adamski UFO.jpg
Adamski UFO patent 02.png
Adamski UFO patent 01.png
T424lJc.png
UFO test facility .jpg
מוזיקה מאריכה חיים

Аватар пользователя
Manopad
Администратор
Администратор
Сообщений: 197
Возраст: 54
Зарегистрирован: 16 янв 2020, 18:09
Откуда: Томская обл. Кожевниково
Контактная информация:

Re: НЛО как наследие нацистской Германии

#5 Сообщение Manopad » 24 май 2023, 16:20

91.png

70af.png

Вот разработка НЛО Японских конструкторов. На резонаторах в форме ленты мебиуса.
Ссылка на статью на английском языке залитая га яндекс диск; https://disk.yandex.ru/i/S9Nokktj36qGJU

Аватар пользователя
x_name41
Сообщений: 22
Зарегистрирован: 02 авг 2021, 14:27
Контактная информация:

Re: НЛО как наследие нацистской Германии

#6 Сообщение x_name41 » 31 май 2023, 21:32

думаю кроме конденсатор или конденсаторная конструкция ничего другое не сможет восспроизвести значительной антигравитационной эффект, который бы Был применим на практике...
מוזיקה מאריכה חיים

Аватар пользователя
Princess
Системный администратор
Системный администратор
Сообщений: 518
Зарегистрирован: 16 янв 2020, 21:34
Откуда: Moscow
Контактная информация:

Re: НЛО как наследие нацистской Германии

#7 Сообщение Princess » 01 июн 2023, 08:56

Нужна лабораторная проверка.


Вернуться в «Природа пространства времени.»